Free Printables Online
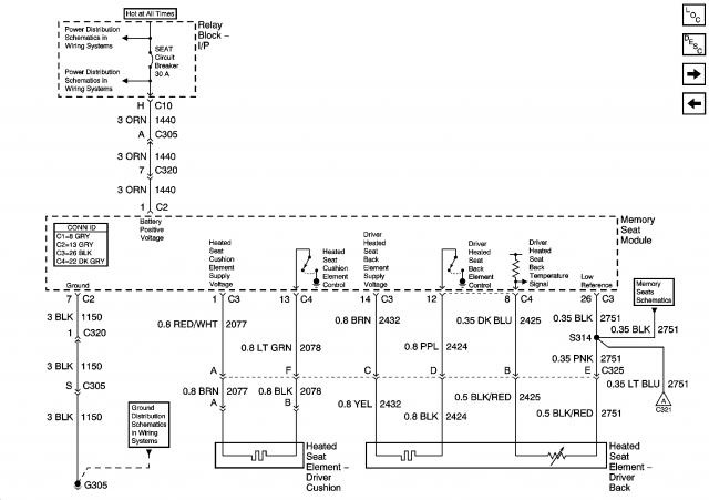
2004 Silverado Power Seat Wiring Diagram
free templates powerpoint education
get well card template
football t shirt design templates
ford firing order
gibson jimmy page wiring diagram treble bleed
free non disclosure agreement template pdf
free printable daily task list template
ford f250 radio wiring diagram
Need 2001 Silverado Power Seat Wiring Diagram
Repair Guides
Need 2001 Silverado Power Seat Wiring Diagram
My Question Is Also With The Proper Wiring Of A 6 Way Power
I Have A 2002 Tahoe That Has 4 Way Power Front Seats Will
Repair Guides
Wiring Diagram For Power Seats And Heaters The 1947
Doc Diagram Seat Wiring Diagram Ebook Schematic
Wiring Diagram For Power Seats And Heaters The 1947
Repair Guides
Lincoln Power Seat Wiring Diagrams Free Wiring Schematic
Heated Seat Wiring Chevy Truck Forum Gm Truck Club
Tahoe Seat Wiring Wiring Diagrams
Power Seat Does Not Work Heated Seat Switch Does Not Work
Power Seat Install Youtube
2003 Chevy Truck Power Seat Wiring Wiring Schematic Diagram
Heated Seat Wiring Chevy Truck Forum Gm Truck Club
Repair Guides
How To Hot Wire A Power Seat Silverado Tahoe Suburban 1999 2006 Junk Yard Removal The Easy Way
2014 Ram Power Seat Wiring Diagram Wiring Diagrams Online
Wiring Diagram For Heating 04 Tahoe Gm Power Seat Wiring
Source :
pinterest.com
Popular Posts
Download Template Poster Photoshop Gratis
Customer Value Proposition Template
Employee Pay Stub Template Free
Diet Food Journal Template
Doctor Template Background
Excel Statement Template Free Download
Diagram Picture Change Serpentine 1998 Honda Accord 4 Cylinder
Engineering Resume Outline
Elementary Writing Template Lined Paper
Diagram To Wire Tail Light
Family Issue Resignation Letter Sample For Family Reasons
Excel Disney World Itinerary Template
Diagram On 1988 F150 Alternator
Dc2 Gsr Engine Wiring Diagram
Downloadable Invoice Template Google Docs
Daily Day Planner Template
Cut Out Printable Crown Template
Disc Certification Training In Singapore
Editable Swot Analysis Template Powerpoint
Creative Agency Template
Diploma Certificate Online
Evaluation Form Template For Interviews
Death Certificate California Template
Create Banner Online Printable
Etsy Table Numbers Printable
Excel Weekly Calendar Template 2017
Excel Monthly Task Schedule Template
Excel Online Meal Planner Template
Digital Beer Menu Template
Excel Gantt Chart Monthly Template
Fake Apple Store Receipt
Disaster Recovery Plan Example Doc
Electrical Box Template Tool
Electricity Board Wiring Diagram
Electrical Estimate Template
Dating Relationship Agreement Template
Elevator Camera Wiring Schematic
Family Tree Template With Siblings Aunts Uncles Cousins
Excel Program Status Report Template
Diaper Raffle Ticket Template
Excel Sample Nonprofit Budget
Editable Old Newspaper Article Template
Dinosaur Bookmark Printable
Electronic Pay Stub Template
Diagram Heated Glove
Dodge Durango 2004 5 7 Hemi Engine Diagram
Employee Exit Interview Template
Envato Presentation Templates
Fake Gift Certificates Print Free
Employment Personal Guarantor Letter Sample
Delco Antenna Wiring P30
Diagram Of Wired And Wireles Network
Facebook Photoshop Template
Family Tree Paper Template
Create Printable Business Cards Online Free