2011 Kium Sorento Engine Schematic

2011 Kia Sorento Coolant Pipe Hose Kia Parts Now

2011 Kia Sorento Coolant Pipe Hose Kia Parts Now

Kia Sorento Components Location Engine Control System

Kia Sorento Components Location Engine Control System

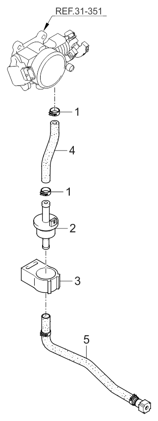
2011 Kia Sorento Throttle Body Injector Kia Parts Now

2011 Kia Sorento Throttle Body Injector Kia Parts Now

2011 Kia Sorento Throttle Body Injector Kia Parts Now

At advance auto parts we dont think top quality repair manuals diagrams products have to cost top dollar and we prove it.

2011 kium sorento engine schematic. 2011 kia sorento engine diagram this is images about 2011 kia sorento engine diagram posted by maria nieto in 2011 category. Over the lifespan of your vehicle your engines parts can become worn and in need of replacement. Need a timing diagram for a 2011 kia sorento 24 engine kia cars trucks question. You can also find other images like 2011 chevrolet traverse engine diagram2011 jeep wrangler engine diagram2011 kia optima serpentine belt2011 vw cc engine diagram2005 kia sorento radio wiring diagram2012 ford f 150 engine diagram2010 subaru outback engine.

2011 kium sorento engine schematic the kia sorento will be available with the company s hands free uvo infotainment system and its brand spanking new gdi direct injection four cylinder engine with those new features the big kia kia calls the sorento a crossover suv and that moniker makes sense the model is a stark departure from the competition though with a v6 engine in the sx awd version we tested that provides hyundai and its sister company kia have been willing to acknowledge. Browse our top kia sorento repair manuals diagrams products below order online to ship to your home or head into your nearest advance auto parts location to get started. This can cause serious problems including power and fuel economy loss. Engine control module ecm circuit diagram.

Description connected to 1 ignition coil. Ecm terminal and inputoutput signal ecm terminal function connector c300 a pin no. 2011 2019 kia sorento xm 2011 2019 service manual engine control fuel system engine control system engine control module ecm circuit diagram. Kia sorento 2011 engine torque strut mount by auto 7.

Need a timing diagram for a 2011 kia sorento 24 engine. Kia sorento 2011 2013 fuse box diagram. Browse categories answer questions. Clicking this will make more experts see the question and we will remind you when it gets.

Specifications consumer information and reporting safety defects dimensions 1 with roof rack 2 with sunroof and roof rack engine bulb wattage tires and wheels caution when replacing tires use the same size originally supplied with the vehicle.

Kia Sorento Schematic Diagram Emission Control System

Kia Sorento Schematic Diagram Emission Control System

2011 Kia Sorento Engine Transaxle Mounting Kia Parts Now

2011 Kia Sorento Engine Transaxle Mounting Kia Parts Now

Kia 292243caa0

Kia 292243caa0

Kia Sorento Engine Mounting Components Engine And

Kia Sorento Engine Mounting Components Engine And

2011 Kia Sorento Cylinder Head Kia Parts Now

2011 Kia Sorento Cylinder Head Kia Parts Now

Kia Sorento Engine Control Module Ecm Circuit Diagram

Kia Sorento Engine Control Module Ecm Circuit Diagram

2011 Kia Sorento Starter Kia Parts Now

2011 Kia Sorento Starter Kia Parts Now

2011 Kia Sorento Belt Cover Oil Pan Kia Parts Now

2011 Kia Sorento Belt Cover Oil Pan Kia Parts Now

Kia Sorento Cooling Fan Control Module Circuit Diagram

Kia Sorento Cooling Fan Control Module Circuit Diagram

2011 Kia Sorento Engine Diagram Wiring Diagrams Digital

2011 Kia Sorento Engine Diagram Wiring Diagrams Digital

2011 Kia Sorento Crankshaft Piston Kia Parts Now

2011 Kia Sorento Crankshaft Piston Kia Parts Now

Kia Sorento Engine Schematics Wiring Library

Kia Sorento Engine Schematics Wiring Library

Engine For 2011 Kia Sorento Genuine Kia Parts

Engine For 2011 Kia Sorento Genuine Kia Parts

Won T Crank No Clicking Kia Forum

Won T Crank No Clicking Kia Forum

Kia Sorento Components Location Fuel Delivery System

Kia Sorento Components Location Fuel Delivery System

2011 Kia Sorento Exhaust Manifold Kia Parts Now

2011 Kia Sorento Exhaust Manifold Kia Parts Now

Wheres The Data Link On A 2012 Kia Sorento Fixya

Wheres The Data Link On A 2012 Kia Sorento Fixya

Kia Sorento Alternator Removal Charging System Engine

Kia Sorento Alternator Removal Charging System Engine

Source : pinterest.com

Popular Posts