Mercede Benz Ml320 Engine Diagram

Engine Vacuum Diagram Engine Mechanical Problem 6 Cyl Four

Engine Vacuum Diagram Engine Mechanical Problem 6 Cyl Four

Wrg 5047 2006 Mercedes C230 Engine Diagram

Wrg 5047 2006 Mercedes C230 Engine Diagram

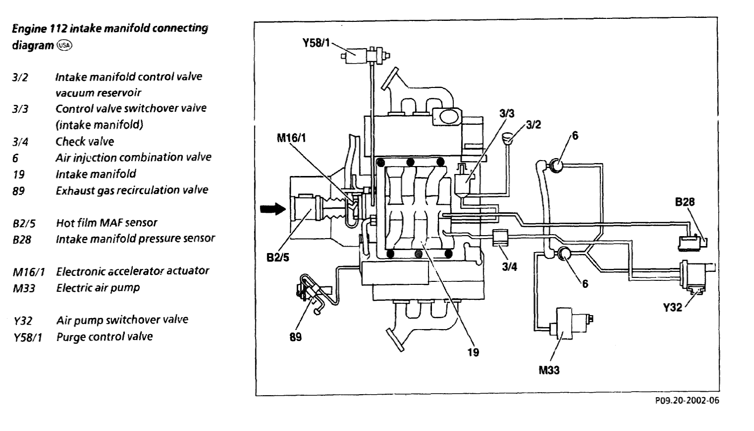
Engine Vacuum Diagram Engine Mechanical Problem 6 Cyl Four

Engine Vacuum Diagram Engine Mechanical Problem 6 Cyl Four

Engine Vacuum Diagram Engine Mechanical Problem 6 Cyl Four

Mercedes benz truck wiring diagram.

Mercede benz ml320 engine diagram. Ml320 engine diagram mercedes engine diagram ml320 a promoting for the people wiring ml320 engine diagram mercedes w163 serpentine belt replacement diagram ml320 ml430 ml320 engine diagram mercedes benz w203 idler pulley replacement 2001 2007 c230. Mercedes benz actros atego axor truck full fault codes list bs nr ag mercedes fault codes list. Mercedes w631 mb100 schema electrique. Hi i have a 1992 mercedes benz 300e 26 with the m103 engineim having some trouble with the ac.

The mercedes benz m112 engine is a gasoline fueled 4 stroke spark ignition internal combustion automobile piston v6 engine family used in the 2000s. B class w245 2005 present. 6 responses to index to mercedes epc parts info and diagrams. Mercedes benz 207d wiring diagram.

Ml230 ml320 ml350 ml430 ml500 ml270 cdi ml55 amg w164 2005 to. Packed with the latest safety features and technology it takes care of all the driving needs of its driver and passengers. Where is the fuse box panel located on a mercedes benz on a ml320 ml350 ml430 ml500. Search for mercedes benz parts.

In this guide you will learn how to access the fuse box panel see a copy of the fuse layout diagram and the fuse assignment. A short time later the related m113 v8 was introduced. Mercedes benz m class a series of mid size crossovers of the premium segment produced in 1997 by the german automaker mercedes benz. However a vehicle such as the mercedes benz ml320 needs utmost attention and proper upkeep.

I do have a wiring diagram however this one is not showing a connection between the auxiliary fan relay and the mas relaythe reason why i need it is because the diagram i have shows me 5 wires comming out of the auxiliary relay and checking it there are only 4 wires and the one missing is the. Must have tips for your mercedes benz ml320s engine. Mercedes benz ml 320 cdi 4matic w164. The car was designed specifically for the north american market and is the first product of the division mercedes benz us.

Mercedes engine repair manuals. Mercedes benz 208d wiring diagram. Taken at taken. The main fuse box is located in the engine compartment drivers side.

Introduced in 1998 it was the first v6 engine ever built by mercedes. B200 turbo b200 cdi b180 cdi b150 b170 b200.

Mercedes W163 Serpentine Belt Replacement Diagram Ml320 Ml430 Ml350 Ml500

Mercedes W163 Serpentine Belt Replacement Diagram Ml320 Ml430 Ml350 Ml500

1998 2005 Benz Ml320 Ml350 Ml500 Fuse Box Location Diagram

1998 2005 Benz Ml320 Ml350 Ml500 Fuse Box Location Diagram

Fuses W164 M Class 2006 2011 Diagram Box Location Ml320

Fuses W164 M Class 2006 2011 Diagram Box Location Ml320

2003 Mercedes C230 Engine Diagram Wiring Schematic Diagram

2003 Mercedes C230 Engine Diagram Wiring Schematic Diagram

2000 Mercedes Benz Ml320 Start Up Engine And In Depth Tour

2000 Mercedes Benz Ml320 Start Up Engine And In Depth Tour

Details About Mercedes Mercedes Benz Oem Ml320 Ecm Ecu Pcu Engine Computer Bracket 1645451840

Details About Mercedes Mercedes Benz Oem Ml320 Ecm Ecu Pcu Engine Computer Bracket 1645451840

Solved Need Diagram To Replace Belt On 95 Mercedes E 320

Solved Need Diagram To Replace Belt On 95 Mercedes E 320

00 Ml320 Engine Diagram Engine Components Diagram

00 Ml320 Engine Diagram Engine Components Diagram

4matic Wikipedia

4matic Wikipedia

Amazon Com Mercedes Benz 112 997 02 46 Engine Crankshaft

Amazon Com Mercedes Benz 112 997 02 46 Engine Crankshaft

Mercedes Ml320 Serpentine Belt Diagram Fixya

Mercedes Ml320 Serpentine Belt Diagram Fixya

Mercedes Ml320 Wiring Diagram Wiring Schematic Diagram

Mercedes Ml320 Wiring Diagram Wiring Schematic Diagram

Details About Mercedes Oem 98 03 Ml320 3 2l V6 Engine Oil Filter Housing Seal 1121840061

Details About Mercedes Oem 98 03 Ml320 3 2l V6 Engine Oil Filter Housing Seal 1121840061

Mercedes C320 Wiring Diagram Digital Resources

Mercedes C320 Wiring Diagram Digital Resources

Pin On Mercedes Ml

Pin On Mercedes Ml

1998 2005 Benz Ml320 Ml350 Ml500 Fuse Box Location Diagram

1998 2005 Benz Ml320 Ml350 Ml500 Fuse Box Location Diagram

Genuine Oe Mercedes Benz Tensioner 642 050 03 11

Genuine Oe Mercedes Benz Tensioner 642 050 03 11

Problems With Mercedes Benz Ml320

Problems With Mercedes Benz Ml320

Source : pinterest.com

Popular Posts